欢迎光临工业插头插座厂家官方网站!

工业连接器

  • CEE-213n/223n

CEE-213n/223n

  • 013.jpg

    电       流   Current(A): 16A/32A

    电       压   Voltage(V):  220-250V~

    极       数   No. of poles: 2P+E

    防护等级  Protection degree: IP44


213N.png


16Amp

32Amp

Poles

3

4

5

3

4

5

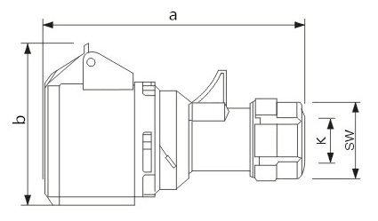
a

129

135

142

159

159

165

b

76

80

89

92

92

98

k

6-15

6-15

8-16

10-20

10-20

12-22

sw

38

38

42

50

50

50

Wire flexible [mm²]

1-2.5

2.5-6


友情链接: 浙ICP备20241089162222号 CEE工业插座箱 工业插头插座厂家